| 
 
 
 一、產品[自力式平衡閥]的詳細資料: 產品型號:ZLF-16型 產品名稱:自力式平衡閥 產品特點:ZLF-16型自力式平衡閥,是一種利用介質自身的壓力變化進行自我控制而保持流經該被控系統流量不變的閥門,并具有流量指示,調節方便,適用于供熱空調等非腐蝕性介質的流量控制。運行前一次性調節,即可使系統流量自動恒定在要求的設定值。  
 二、主要技術參數: 型號   | 公稱壓力   | 殼體試驗壓力   | 使用介質   | 介質溫度   |  ZLF-16  | 16MPa  | 24MPa  | 水、油等非腐蝕性液體   | 0~100℃   |  
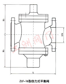
 三、ZLF型自力式平衡閥主要外型尺寸(法蘭連接PNl.6MPA按JB/T79―94標準): DN  | 15  | 20  | 25  | 32  | 40  | 50  | 65  | 80  | 100  | 125  | 150  | 200  | 250  | 300  | 350  | 備注   |  L  | 110  | 110  | 115  | 160  | 200  | 215  | 230  | 275  | 290  | 310  | 350  | 430  | 520  | 635  | 670  | DNl5.25 為螺紋連接   |  H1  | 72  | 72  | 81  | 108  | 138  | 138  | 143  | 170  | 193  | 208  | 254  | 289  | 325  | 357  | 372  |  H2  | 70  | 70  | 74  | 91  | 147  | 147  | 154  | 189  | 211  | 227  | 260  | 303  | 367  | 430  | 495  |  流量控制  范圍m3/h  | 0.1 ~1  | 0.1 ~1.5  | 0.2 ~2  | 0.5 ~4  | 1 ~6  | 2 ~10  | 3 ~15  | 5 ~25  | 10 ~35  | 15 ~50  | 30 ~80  | 40 ~180  | 100 ~300  | 150 ~1500  | 200 ~700  |  
 訂貨須知: 一、①ZLF型自力式平衡閥產品名稱與型號②ZLF型自力式平衡閥口徑③ZLF型自力式平衡閥是否帶附件二、若已經由設計單位選定公司的ZLF型自力式平衡閥型號,請按ZLF型自力式平衡閥型號 三、當使用的場合非常重要或環境比較復雜時,請您盡量提供設計圖紙和詳細參數,
  
 ? 相關產品: 數字鎖定平衡閥 KPF型平衡閥 流量平衡閥 法蘭式平衡閥 截止式流量平衡閥 絲口平衡閥 WM105型動態流量平衡閥 WM115型動態流量平衡閥  |  
  |